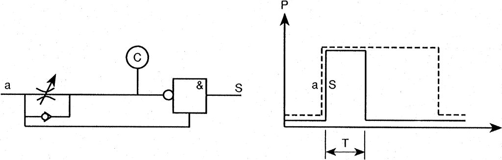
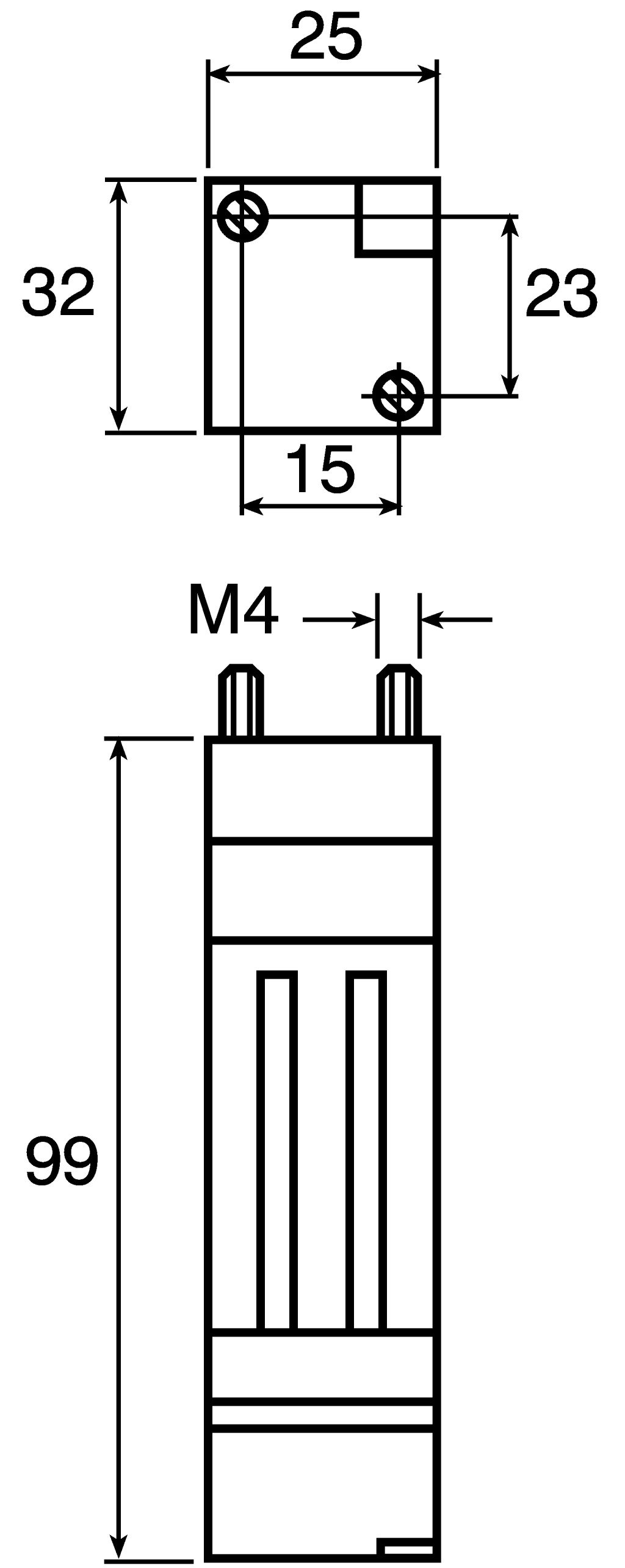
Crouzet 81 series 0.1s to 30s Pneumatic Timer, 8 bar max
- RS Stock No.:
- 0725024
- Mfr. Prt No.:
- 81507720
- Brand:
- Crouzet

Legislation and Compliance
RoHS Status: Not Applicable
Statement of Conformity
RS Components
Statement of Conformity
This statement confirms that the product detailed below complies with the specifications currently published in the RS media and has been subject to the strict quality conditions imposed by RS Components’ internal management systems. Furthermore and where applicable, it confirms that all relevant semiconductor devices have been handled and packed under conditions that meet the administrative and technical requirements of ANSI/ESD S20.20 and EN61340-5-1 electrostatics control standards.
Compliant Product Details
| RS stock number | 0725024 |
| Product description | Crouzet 81 series 0.1s to 30s Pneumatic Timer, 8 bar max |
| Manufacturer / Brand | Crouzet |
| Manufacturer part number | 81507720 |
The foregoing information relates to product sold on, or after, the date shown below.
RS COMPONENTS
| Date | May 14, 2026 |
RS Components Pte Ltd Robinson Road, P.O. Box 1582, Singapore 903132
Product Details
Specifications
| Attribute | Value |
| Brand | Crouzet |
| Minimum Operating Temperature | -5 °C |
| Maximum Operating Temperature | +50 °C |
| Manufacturer Series | 81 |
| Maximum Operating Pressure | 8 bar |
| Maximum Time | 30 s |
| Minimum Operating Pressure | 2 bar |
| Minimum Time | 0.1 s |